Epic Eye Laser L
안전 유의사항
안전 성명
-
본 제품을 사용하기 전에 반드시 제품 설명서를 읽고 주의사항 관련 정보를 정확히 이해하십시오. 주의사항을 준수하지 않을 경우, 장비 손상 또는 인명 중상·사망 사고가 발생할 수 있습니다.
-
본 설명서의 내용을 준수하지 않거나 제품을 잘못 사용하여 발생하는 인명 안전 사고, 재산 손실 등에 대하여 Transfer는 어떠한 법적 책임도 지지 않습니다.
주의사항
-
먼지가 많거나 강한 전자기 간섭, 강한 직사광선이 있는 환경 또는 온습도 허용 범위를 벗어난 환경에서 카메라를 사용하지 마십시오.
-
카메라 작동 중에 투사 광선을 직접 바라보지 마십시오. 눈에 손상을 줄 수 있습니다.
-
카메라 창이 깨끗한 상태를 유지하도록 하십시오. 창을 청소할 때는 먼지가 없는 천을 사용하십시오.
-
카메라에 전원이 공급된 상태에서 설치, 분해 또는 청소를 금지합니다.
-
카메라를 운반하거나 설치하는 과정에서 충격이나 낙하를 방지하십시오.
-
이상 현상(이상 소음, 냄새, 연기 등)을 발견하면 즉시 전원을 차단하고 점검하십시오.
-
카메라 및 관련 전원 케이블을 임의로 개조하지 마십시오.
포장 목록
개봉 시 카메라 및 부속품에 손상, 녹, 긁힘 등이 있는지 확인하고, 포장 목록과 대조하여 자재가 모두 있는지 확인하십시오. 카메라 및 부속품에 손상, 녹, 긁힘 등이 있거나 실제 자재가 포장 목록과 일치하지 않을 경우, Transfer에 문의하십시오.
기술 사양
기술 파라미터
시스템 파라미터 |
기준 거리 |
400mm |
권장 작업 거리 |
1200mm~3000mm |
|
최적 작업 거리 |
2100mm |
|
근거리 시야 |
1260mm×1240mm@1.2m |
|
원거리 시야 |
3220mm×2950mm@3.0m |
|
Z축 정확도 |
0.15mm@2.4m |
|
화소 수 |
300만 |
|
VDI/VDE 측정 정확도 |
0.32@2.4m |
|
해상도 |
2048x1536 |
|
정밀도 오차 |
<0.15% |
|
표준 수집 시간 |
0.4s~0.9s |
|
전원 공급 |
24V ⎓ 5A |
|
최대 전력 |
40W |
|
평균 소비 전력 |
22W |
|
대기 소비 전력 |
16W |
|
하드웨어 파라미터 |
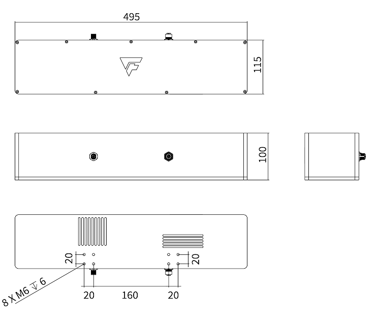
외형 크기(L*W*H) |
495mm×115mm×100mm |
설치 방식 |
고정 설치 |
|
통신 인터페이스 |
기가비트 이더넷 |
|
광원 |
청색(450nm) 레이저 |
|
2D 카메라 |
흑백 |
|
환경 파라미터 |
작업 온도 범위 |
0℃~50℃ |
작업 습도 |
20%~90% RH 비응결 |
|
방진/방수 등급 |
IP65 |
|
냉각 방식 |
수동 냉각 |
|
무게 |
3.66kg |
|
보관 온도 |
-20℃~70℃ |
|
보관 습도 |
20%~90% RH 비응결 |
본 매뉴얼의 매개변수 내용에 업데이트가 있을 경우, 별도로 통지하지 않습니다. 최신 발표된 데이터를 기준으로 해주시기 바랍니다.
설치 및 연결
케이블 연결
스마트 카메라 연결 케이블
전원 케이블 기술 사양
물리적 매개변수
모델 |
직형 |
각형 |
CBL-PWR-12-15M CBL-PWR-12-30M |
CBL-PWR-12-15M-LU CBL-PWR-12-30M-LU |
|
색상 |
검정 |
|
외피 재질 |
PA |
|
외경 |
7.9(+0.25/-0.25)mm |
|
커넥터 |
M12, 직형 또는 각형, 4핀 분리형 단자 |
|
도체 직경 |
4*1.0mm² |
|
정적 굴곡 반경 |
79 mm |
|
동적 굴곡 반경 |
90 mm |
|
EMI 차폐 성능 |
알루미늄 호일, 금속 편조, 이중 차폐 |
|
안전성 |
RoHS 규격 준수 난연 등급: VW-1 |
|
케이블 캐리어 테스트 |
굴곡 반경: 79 mm 행정: 1000mm 속도: 2000 mm/s 횟수: ≥ 1000만 회 |
|
호환 카메라 모델 |
Laser L V2S Log L |
|
네트워크 케이블 기술 사양
물리적 매개변수
모델 |
직형 |
각형 |
CBL-ETH-12-15M CBL-ETH-12-30M |
CBL-ETH-12-15M-LU CBL-ETH-12-30M-LU |
|
색상 |
검정 |
|
외피 재질 |
PA |
|
충전재 |
면사 |
|
외경 |
7.9(+0.25/-0.25)mm |
|
커넥터 |
M12, 직형 또는 각형, 4핀 분리형 단자 |
|
도체 직경 |
17AWG |
|
정적 굴곡 반경 |
79 mm |
|
동적 굴곡 반경 |
90 mm |
|
EMI 차폐 성능 |
알루미늄 호일, 금속 편조, 이중 차폐 |
|
안전성 |
RoHS 규격 준수 난연 등급: VW-1 |
|
케이블 캐리어 테스트 |
굴곡 반경: 79mm 횟수: ≥ 1000만 회 |
|
호환 카메라 모델 |
Laser L V2S Log L |
|
표준 보드 설치
|
유지 보수
산업용 3D 카메라 하드웨어의 안정적 운용과 측정 정밀도를 보장하기 위해 정기적인 유지 보수가 필수적입니다. 이는 장비 수명을 연장하고 잠재적인 문제를 사전에 발견하여 장비 고장률을 줄이며 생산 라인의 연속적이고 안정적인 운행을 보장합니다. 규정에 따라 유지 보수를 철저히 수행하고 관련 기록을 남기십시오.
일상 점검
-
전원 상태가 정상인지 확인하고, 정기적으로 전원 케이블 접촉 상태를 점검하여 전원 전압 출력이 안정적이고 전원 사양을 충족하는지 확인하십시오. 필요 시 UPS 무정전 전원을 사용하여 예기치 않은 정전을 방지하십시오.
-
네트워크 연결이 안정적인지 확인하고, 전송 속도가 요구 사항을 충족하는지 점검하십시오.
-
작업 환경의 온도와 습도가 규정 범위 내에 있는지 확인하십시오. 통풍이 잘되어 카메라의 열 방출이 원활한지 확인하는 것이 좋습니다.
-
카메라 외관 상태를 점검하여 파손, 변형 또는 부식이 없는지 확인하고, 주변 환경과 접촉하여 긁힘이나 충돌 위험이 없는지 점검하십시오.
-
카메라 설치 및 어댑터의 견고성을 점검하여 변형, 느슨함 또는 흔들림이 없는지 확인하십시오.
-
케이블 접속부의 응력 상태를 점검하여 케이블 배선이 적절하고 과도한 굽힘이 없으며, 외피가 노후되거나 갈라짐이 없는지 확인하십시오.
정기 청소
카메라를 정기적으로 청소하여 렌즈가 깨끗하고 먼지와 얼룩이 없는지 확인하십시오. 깨끗하고 부드러운 천을 사용하여 카메라 본체를 닦고, 렌즈 클리너 또는 유리 세정제를 소량 묻힌 부드러운 무연 천으로 카메라 렌즈를 닦아 렌즈에 흠집이 생기지 않도록 하십시오.




