Epic Eye Laser L
安全上の注意
梱包内容
開梱時には、カメラおよび付属品に破損、錆、傷などがないかを確認し、梱包リストと照合して物品が揃っているか確認してください。万が一、破損、錆、傷がある場合や、実際の物品がリストと異なる場合は、Transfer にご連絡ください。
技術仕様
技術パラメータ
システムパラメータ |
ベースライン長さ |
400mm |
推奨作業距離 |
1200mm~3000mm |
|
最適作業距離 |
2100mm |
|
近距離視野 |
1260mm×1240mm@1.2m |
|
遠距離視野 |
3220mm×2950mm@3.0m |
|
Z方向精度 |
0.15mm@2.4m |
|
ピクセル数 |
300万 |
|
VDI/VDE測定精度 |
0.32@2.4m |
|
解像度 |
2048x1536 |
|
精度誤差 |
<0.15% |
|
典型収集時間 |
0.4s~0.9s |
|
電源供給 |
24V ⎓ 5A |
|
ピーク電力 |
40W |
|
平均消費電力 |
22W |
|
待機消費電力 |
16W |
|
ハードウェアパラメータ |
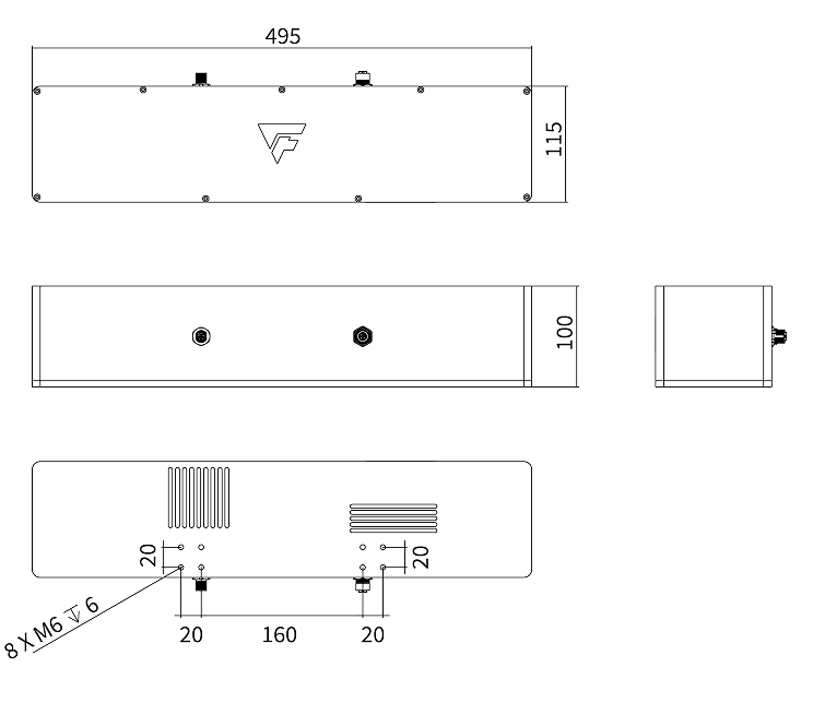
外形寸法(L*W*H) |
495mm×115mm×100mm |
取り付け方法 |
固定取り付け |
|
通信インターフェース |
ギガビットイーサネット |
|
光源 |
青色(450nm)レーザー |
|
2Dカメラ |
モノクロ |
|
環境パラメータ |
動作温度範囲 |
-10℃~45℃ |
動作湿度 |
20%~90% RH 非結露 |
|
保護等級 |
IP65 |
|
冷却方法 |
パッシブ |
|
重量 |
3.66kg |
|
保管温度 |
-20℃~70℃ |
|
保管湿度 |
20%~90% RH 非結露 |
本マニュアルのパラメータ内容に更新がある場合、個別にお知らせいたしません。最新の公開データをご参照ください。
設置と接続
ケーブル接続
電源ケーブル技術仕様
物理パラメータ
モデル |
ストレート |
アングル |
CBL-PWR-12-15M CBL-PWR-12-30M |
CBL-PWR-12-15M-LU CBL-PWR-12-30M-LU |
|
色 |
黒 |
|
外被材質 |
PA |
|
外径 |
7.9(+0.25/-0.25)mm |
|
コネクタ |
M12、ストレートまたはアングル、4ピン 散線端 |
|
導体直径 |
4*1.0mm² |
|
静的曲げ半径 |
79 mm |
|
動的曲げ半径 |
90 mm |
|
EMIシールド性能 |
アルミ箔、金属編組、二重シールド |
|
安全性 |
RoHS準拠 難燃等級:VW-1 |
|
ケーブルキャリアテスト |
曲げ半径:79 mm ストローク:1000mm 速度:2000 mm/s サイクル数:≥ 1000万回 |
|
対応カメラモデル |
Laser L |
|
ネットワークケーブル技術仕様
物理パラメータ
モデル |
ストレート |
アングル |
CBL-ETH-12-15M CBL-ETH-12-30M |
CBL-ETH-12-15M-LU CBL-ETH-12-30M-LU |
|
色 |
黒 |
|
外被材質 |
PA |
|
充填材 |
綿糸 |
|
外径 |
7.9(+0.25/-0.25)mm |
|
コネクタ |
M12、ストレートまたはアングル、4ピン 散線端 |
|
導体直径 |
17AWG |
|
静的曲げ半径 |
79 mm |
|
動的曲げ半径 |
90 mm |
|
EMIシールド性能 |
アルミ箔、金属編組、二重シールド |
|
安全性 |
RoHS準拠 難燃等級:VW-1 |
|
ケーブルキャリアテスト |
曲げ半径:79mm サイクル数:≥ 1000万回 |
|
対応カメラモデル |
Laser L |
|
キャリブレーション板の取り付け
|
保守とメンテナンス
産業用3Dカメラのハードウェアの安定した運用と測定精度を確保するために、定期的な保守が非常に重要です。これにより、機器の寿命を延ばし、潜在的な問題を早期に発見して予防することができ、設備故障率を低減し、生産ラインの連続的かつ安定的な運用を保証します。保守作業は規定に従い、関連記録をきちんと管理してください。
日常点検
-
電源の状態を確認し、電源ケーブルの接続が良好であることを定期的に確認してください。電源電圧が安定しており、規定の供給電源仕様に準拠していることを確認してください。必要に応じてUPS(無停電電源装置)を使用し、予期しない停電を防止してください。
-
ネットワーク接続が安定しているかを確認し、ネットワークの伝送速度が要求を満たしていることを確保してください。
-
作業環境の温度や湿度が規定に適合していることを監視してください。通気状況が良好であることを確認し、カメラの冷却が正常であることを確認してください。
-
カメラの外装が破損、変形、腐食などの異常がないことを確認し、環境物と接触したり、衝突したりするリスクを回避してください。
-
カメラの取り付け部分やアダプタの締結状態を確認し、変形、緩み、揺れなどの異常がないことを確認してください。
-
ケーブルの接続部分に過度なストレスがかかっていないことを確認し、ケーブルの配線が合理的で、過度の曲げがないこと、外皮に劣化や亀裂がないことを確認してください。
定期清掃
定期的にカメラの清掃を行い、レンズが清潔で、明らかなほこりや汚れがないことを確認してください。柔らかい布でカメラ本体を拭き取り、レンズにはレンズクリーナーやガラスクリーナーを付けた柔らかい無繊維布で拭いてください。レンズを傷つけないように注意してください。




