Epic Eye Laser L V2S

安全に関するご案内

安全に関する声明

  • 本製品をご使用になる前に、必ず製品マニュアルをお読みいただき、注意事項を正しくご理解ください。注意事項に記載された内容に従わない場合、機器の損傷や重篤な人身事故、死亡事故につながる恐れがあります。

  • 本マニュアルの内容を遵守しなかった場合や不適切な操作によって発生した人身事故や財産損失について、Transferは一切の法的責任を負いません。

注意事項

  • 本カメラは、粉塵が多い場所、強い電磁干渉、直射日光、高温・高湿または低温・低湿などの適用範囲外の環境での使用を避けてください。

  • カメラ作動中は投光ビームを直接見ないでください。目を傷めるおそれがあります。

  • カメラのウィンドウは常に清潔に保ってください。清掃の際は無塵布をご使用ください。

  • 通電中のカメラに対し、設置・取り外し・清掃を絶対に行わないでください。

  • 輸送・設置時は、カメラを激しくぶつけたり落下させたりしないようご注意ください。

  • 異音・異臭・発煙等の異常が発生した場合、直ちに電源を切り、点検を行ってください。

  • カメラおよび付属電源ケーブルの改造は禁止されています。

梱包内容一覧

hardware laser v2s unbox

開封時はカメラおよび付属品に破損、錆、傷等がないことを確認し、同梱品リストと照合してすべて揃っていることを必ずご確認ください。万一破損、錆、傷等があった場合や、実際の物品がリストと異なる場合は、Transferまでご連絡ください。

技術仕様

技術パラメータ

システムパラメータ

ベースライン長

400mm

推奨動作距離

1200mm~3000mm

最適動作距離

2100mm

近端視野

1120mm×1030mm@1.2m

遠端視野

2800mm×2625mm@3.0m

Z方向精度

0.15mm@2.4m

有効画素数

800万、200万

VDI/VDE測定精度

0.32@2.4m

解像度

2840×2840、1420×1420

精度誤差

<0.15%

標準撮像時間

0.4s~0.9s

電源

24V ⎓ 5A

最大消費電力

34W

平均消費電力

16W

待機時消費電力

12W

ハードウェアパラメータ

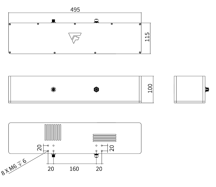
外形寸法 (L*W*H)

495mm×115mm×100mm

取付方法

固定取付

通信インターフェース

ギガビットイーサネット

光源

青色(450nm)レーザー

2Dカメラ

モノクロ

スマートカメラ仕様(1)

メモリ

16G

ストレージ

128G

演算ユニット

CPU、GPU、NPU

環境パラメータ

動作温度範囲

0℃~50℃

動作湿度

20%~90% RH 結露なきこと

保護等級

IP65

冷却方法

パッシブ

重量

3.77kg

保管温度

-20℃~70℃

保管湿度

20%~90% RH 結露なきこと

(1):このパラメータはスマートカメラ製品にのみ適用されます。

本マニュアル記載のパラメータは予告なく変更となる場合がございます。最新情報をご参照ください。

外形寸法

単位:mm

hardware laserl dimensions

レーザ製品安全

レーザー発振器パラメータ

波長

450nm

レーザークラス

Class 3R

レーザークラスは IEC 60825-1:2014 規格に基づき分類されています。

ラベル

laser tag

ラベル貼付位置

laser tag position
laser tag position2

インターフェースおよびインジケーター

hardware laserv2s port

インジケーターの色と状態の対応は下表の通りです。

状態

青点滅

カメラ初期化中

青点灯

正常動作

赤点灯

ハードウェア故障

黄点灯

ネットワーク障害

取付・接続

カメラの取付

hardware laserl mount instructions
  • 片手での操作は避け、支えとなる物を利用して取付してください。落下や衝突による破損を防止してください。

  • 対角線方向に徐々にネジを締め付け、一方だけに力がかかって傾きや締め過ぎが発生しないようご注意ください。

ブラケットへのカメラ設置

hardware laserl mount instructions 2
  • カメラはパレット(バスケット)中央真上に設置し、視野内に障害物がないことを推奨します。

  • カメラ下面はパレット(バスケット)設置面と平行であることを推奨します。

  • ブラケット用の取付ネジは、ユーザーがブラケットの仕様・取付条件に応じてご用意ください。梱包内容リストには含まれていません。

ケーブル接続

接続のご注意

  • 通電したままでの抜差しはしないでください。すべてのケーブルを接続後、最後に電源を投入してください。

  • プラグとソケットをまっすぐ合わせてゆっくり締めてください。無理な力での抜き差しや回転はしないでください。

  • ケーブルや電源アダプタ、電源線は結束バンド等で固定することを推奨します。

  • ルーターを利用する場合、LANポートに全てのケーブルを挿入してください。

  • ルーター・スイッチご使用時は、ギガビット対応の機器・RJ45コネクタを推奨します。

接続方式

  • カメラと産業用PCを直接接続

    hardware laserv2s connect direct
    1. 産業用PC 2. カメラ用LANケーブル 3. カメラ本体 4. M12-4Pin-15m DCケーブル 5. DINレール電源 6. ロボット

  • カメラと産業用PCをスイッチ経由で接続

    hardware laserv2s connect router
    1. 産業用PC 2. LANケーブル 3. スイッチ 4. カメラ用LANケーブル 5. カメラ本体 6. M12-4Pin-15m DCケーブル 7. DINレール電源 8. ロボット

スマートカメラ用ケーブル

接続に関するご注意

  • 調整時にはカメラと同一ネットワーク内の表示装置(産業用PCやノートPC等)を準備してください。

  • 調整完了後は表示装置の接続を外しても動作継続します。

ケーブル接続

  • スマートカメラとロボットを直接接続

    hardware smart laser v2s connect direct
    1. 表示装置(調整時接続) 2. カメラ用LANケーブル 3. カメラ本体 4. M8-4Pin-10m DCケーブル 5. DINレール電源 6. ロボット(運用時接続)

  • スマートカメラとロボットをスイッチ経由で接続

    hardware smart laser v2s connect router
    1. 表示装置(調整時接続) 2. LANケーブル 3. スイッチ 4. カメラ用LANケーブル 5. カメラ本体 6. M8-4Pin-10m DCケーブル 7. DINレール電源 8. ロボット

接地ガイド

grounding instructions
  1. LANインターフェース 2. 電源ケーブルインターフェース 3. アース端子

電源ケーブル技術仕様

物理的パラメータ

型番

ストレート

アングル

CBL-PWR-12-15M

CBL-PWR-12-30M

CBL-PWR-12-15M-LU

CBL-PWR-12-30M-LU

シース材質

PA

外径

7.9(+0.25/-0.25)mm

コネクタ

M12、ストレートまたはアングル、4ピン、バラ線付

導体径

4*1.0mm²

静的曲げ半径

79 mm

動的曲げ半径

90 mm

EMIシールド

アルミ箔、金属編組の2層シールド

安全性

RoHS準拠

耐燃性:VW-1

ドラッグチェーン試験

曲げ半径:79mm

ストローク:1000mm

速度:2000 mm/s

回数:1,000万回以上

対応カメラ機種

Laser L V2S

Log L

寸法

単位:mm

hardware laser dimension 1

型番

L

CBL-PWR-12-15M

15m

CBL-PWR-12-30M

30m

hardware laser dimension 2

型番

L

CBL-PWR-12-15M-LU

15m

CBL-PWR-12-30M-LU

30m

コネクタ

hardware laser dimension 3

機能

M12ピン配列

バラ線色

-

1

+

2

+

3

-

PE

ワイヤー配列

hardware laser dimension 4

機能

ワイヤ番号

配線色

端子色

+24V

1

+24V

2

黄緑

0V

3

0V

PE

接続ガイド

単位:mm

hardware laser dimension 5

LANケーブル技術仕様

物理的パラメータ

型番

ストレート

アングル

CBL-ETH-12-15M

CBL-ETH-12-30M

CBL-ETH-12-15M-LU

CBL-ETH-12-30M-LU

シース材質

PA

充填材

綿糸

外径

7.9(+0.25/-0.25)mm

コネクタ

M12、ストレートまたはアングル、4ピン、バラ線付

導体径

17AWG

静的曲げ半径

79 mm

動的曲げ半径

90 mm

EMIシールド

アルミ箔・金属編組の2層シールド

安全性

RoHS準拠

耐燃性:VW-1

ドラッグチェーン試験

曲げ半径:79mm

回数:1,000万回以上

対応カメラ機種

Laser L V2S

Log L

寸法

単位:mm

hardware laser net dimension 1

型番

L

CBL-ETH-12-15M

15m

CBL-ETH-12-30M

30m

hardware laser net dimension 2

型番

L

CBL-ETH-12-15M-LU

15m

CBL-ETH-12-30M-LU

30m

コネクタ

hardware laser net dimension 3

機能

M12ピン配列

M0+

1

M0-

2

M1+

3

M1-

4

M3+

5

M3-

6

M2+

7

M2-

8

接続ガイド

単位:mm

hardware laser net dimension 4

DINレール電源の接続

接続時のご注意

  • ケーブル接続前に、ドライバーで端子部のネジを緩めておき、ケーブル挿入後にネジを締め付けてください。

  • すべての端子接続と固定完了後に電源を投入し、通電中の抜き差しはしないでください。

入力側接続

hardware pixel mini power 1

出力側接続

hardware pixel mini power 2

キャリブレーションボードの設置

hardware laserl calibration
  • キャリブレーションボードの表面に傷や汚れがなく、ブラケット構造が正常であることを確認してください。

  • ネジ穴位置を合わせ、緩みや締め過ぎによる変形がないよう順に締め付けてください。

  • 設置後に軽く揺すり、安定性と緩み、揺れがないことを確認してください。

保守・メンテナンス

工業用3Dカメラのハードウェアを安定して稼働させ、高精度な測定を維持するため、定期的なメンテナンスが不可欠です。メンテナンスを実施することで、製品寿命の延長と潜在的な問題の早期発見・予防、故障率の低減、生産ラインの安定稼働を実現できます。必ず規定に従い保守作業を実施し、適切な記録を残してください。

日常点検

  • 電源の供給状態が正常であることを確認し、電源ケーブルの端子接続が良好であるかを定期的に点検してください。電圧が安定し、電源仕様を満たしているか確認し、必要に応じUPS(無停電電源装置)の導入を推奨します。突然の停電を防止するためです。

  • ネットワーク接続が安定しており、伝送速度が要求を満たしていることを確認してください。

  • 設置場所の温度・湿度が仕様範囲内であることを確認し、十分な換気を推奨します。適切な放熱状態を維持してください。

  • カメラ筐体に破損・変形・腐食などの異常がないこと、また外部物体との接触・衝突等の危険がないことを確認してください。

  • カメラや中継部品の固定状態を確認し、変形・緩み・揺れなどがないことを確かめてください。

  • ケーブルおよびコネクタ部のストレス・配線状況を点検し、過度な曲げや被覆の劣化・割れがないことを確認してください。

定期清掃

定期的なカメラの清掃を行い、レンズ表面の埃や汚れがない状態を維持してください。カメラ筐体は清潔な柔らかい布で拭き取り、レンズはレンズクリーナーやガラスクリーナーをしみ込ませた柔らかく毛羽立たない布で丁寧に拭き取ってください。傷防止のためご注意ください。

注意事項

  • メンテナンスの前には必ず機器の電源を切り、レーザー放射から保護してください。

  • アルコールやその他腐食性のある洗剤は使用しないでください。

保管および輸送

  • オリジナル梱包材または専用防振ケースでカメラを保管・輸送してください。

  • 保管環境の温度・湿度が仕様に適合していることを確認してください。

  • 強い衝撃・落下を避け、強磁場から離れた場所で保管してください。

  • 正しい向きで設置し、レンズへの直射日光等の強い光を避けてください。

  • 長期保管する場合は全体を清掃し、3ヶ月毎に通電確認を行ってください。

故障予防および修理

故障予防

  • 機器のメンテナンス記録を作成し、全ての作業と異常事象を記録してください。

  • カメラ内部パラメータを定期点検し、必要に応じて再キャリブレーションを実施してください。

機器修理

本機器のユーザーによる分解や修理は禁止されており、レーザー放射や機器損傷のリスクがあります。故障時は速やかにTransferテクニカルサポートにご連絡の上、返送修理をご依頼ください。無断で分解・修理を行った場合、機器損傷や精度低下が生じてもTransferは一切責任を負いかねます。発生した損失はユーザーの責任となります。

技術サポートチャネル

技術サポートが必要な場合は、公式カスタマーサービスホットライン4000-191-161にお電話いただき、音声案内に従い「3」を選択して技術サポートへお進みください。

法令・コンプライアンス

認証情報

alt altalt alt

免責事項

ユーザーが安全規範を遵守せず、機器の誤操作や無断改造(本体・電源ケーブル等)によって生じた人身事故・財産損失について、Transferは一切責任を負いません。

著作権表示

© 2025, Beijing Transfer Technology

本マニュアルの全内容(文書・画像等)はBeijing Transfer Technologyの所有物です。未許諾での複製、改変、翻訳、または一部・全部の頒布は固く禁じます。

商標表示

Transfer、company logo などTransfer関連の商標・ロゴは、Beijing Transfer Technologyまたは関連会社の登録商標であり、法律による保護を受けています。